J. J. Thomson
Sir Joseph John "J. J." Thomson (18 December 1856 – 30 August 1940) was an English physicist whose study of cathode rays led to his discovery of the electron, a subatomic particle with a negative electric charge.[3]
In 1897, Thomson showed that cathode rays were composed of previously unknown negatively charged particles (now called electrons), which he calculated must have bodies much smaller than atoms and a very large charge-to-mass ratio.[4] Thomson is also credited with finding the first evidence for isotopes of a stable (non-radioactive) element in 1912, as part of his exploration into the composition of canal rays (positive ions). His experiments to determine the nature of positively charged particles, with Francis William Aston, were the first use of mass spectrometry and led to the development of the mass spectrograph.[4][5]
Thomson was awarded the 1906 Nobel Prize in Physics "in recognition of the great merits of his theoretical and experimental investigations on the conduction of electricity by gases".[6] Thomson was also a teacher, and seven of his students went on to win Nobel Prizes: Ernest Rutherford (Chemistry 1908), Lawrence Bragg (Physics 1915), Charles Barkla (Physics 1917), Francis Aston (Chemistry 1922), Charles Thomson Rees Wilson (Physics 1927), Owen Richardson (Physics 1928) and Edward Appleton (Physics 1947).[7] Only Arnold Sommerfeld's record of mentorship offers a comparable list of high-achieving students.
Education and personal life
Joseph John Thomson was born on 18 December 1856 in Cheetham Hill, Manchester, Lancashire, England. His mother, Emma Swindells, came from a local textile family. His father, Joseph James Thomson, ran an antiquarian bookshop founded by Thomson's great-grandfather. He had a brother, Frederick Vernon Thomson, who was two years younger than he was.[8] J. J. Thomson was a reserved yet devout Anglican.[9][10][11]
His early education was in small private schools where he demonstrated outstanding talent and interest in science. In 1870, he was admitted to Owens College in Manchester (now University of Manchester) at the unusually young age of 14 and came under the influence of Balfour Stewart, Professor of Physics, who initiated Thomson into physical research.[12] Thomson began experimenting with contact electrification and soon published his first scientific paper.[13] His parents planned to enroll him as an apprentice engineer to Sharp, Stewart & Co, a locomotive manufacturer, but these plans were cut short when his father died in 1873.[8]
He moved on to Trinity College, Cambridge, in 1876. In 1880, he obtained his Bachelor of Arts degree in mathematics (Second Wrangler in the Tripos[14] and 2nd Smith's Prize).[15] He applied for and became a fellow of Trinity College in 1881.[16] He received his Master of Arts degree (with Adams Prize) in 1883.[15]
Family
In 1890, Thomson married Rose Elisabeth Paget at the church of St. Mary the Less. Rose, who was the daughter of Sir George Edward Paget, a physician and then Regius Professor of Physic at Cambridge, was interested in physics. Beginning in 1882, women could attend demonstrations and lectures at the University of Cambridge. Rose attended demonstrations and lectures, among them Thomson's, leading to their relationship.[17]
They had two children: George Paget Thomson, who was also awarded a Nobel Prize for his work on the wave properties of the electron, and Joan Paget Thomson (later Charnock),[18] who became an author, writing children's books, non-fiction and biographies.[19]
Career and research
Overview
On 22 December 1884, Thomson was appointed Cavendish Professor of Physics at the University of Cambridge.[4] The appointment caused considerable surprise, given that candidates such as Osborne Reynolds or Richard Glazebrook were older and more experienced in laboratory work. Thomson was known for his work as a mathematician, where he was recognised as an exceptional talent.[20]
He was awarded a Nobel Prize in 1906, "in recognition of the great merits of his theoretical and experimental investigations on the conduction of electricity by gases." He was knighted in 1908 and appointed to the Order of Merit in 1912. In 1914, he gave the Romanes Lecture in Oxford on "The atomic theory". In 1918, he became Master of Trinity College, Cambridge, where he remained until his death. He died on 30 August 1940; his ashes rest in Westminster Abbey,[21] near the graves of Sir Isaac Newton and his former student Ernest Rutherford.[22]
Rutherford succeeded him as Cavendish Professor of Physics. Six of Thomson's research assistants and junior colleagues (Charles Glover Barkla,[23] Niels Bohr,[24] Max Born,[25] William Henry Bragg, Owen Willans Richardson[26] and Charles Thomson Rees Wilson[27]) won Nobel Prizes in physics, and two (Francis William Aston[28] and Ernest Rutherford[29]) won Nobel prizes in chemistry. Thomson's son (George Paget Thomson) also won the 1937 Nobel Prize in physics for proving the wave-like properties of electrons.[30]
Early work
Thomson's prize-winning master's work, Treatise on the motion of vortex rings, shows his early interest in atomic structure.[3] In it, Thomson mathematically described the motions of William Thomson's vortex theory of atoms.[20]
Thomson published a number of papers addressing both mathematical and experimental issues of electromagnetism. He examined the electromagnetic theory of light of James Clerk Maxwell, introduced the concept of electromagnetic mass of a charged particle, and demonstrated that a moving charged body would apparently increase in mass.[20]
Much of his work in mathematical modelling of chemical processes can be thought of as early computational chemistry.[4] In further work, published in book form as Applications of dynamics to physics and chemistry (1888), Thomson addressed the transformation of energy in mathematical and theoretical terms, suggesting that all energy might be kinetic.[20] His next book, Notes on recent researches in electricity and magnetism (1893), built upon Maxwell's Treatise upon electricity and magnetism, and was sometimes referred to as "the third volume of Maxwell".[3] In it, Thomson emphasized physical methods and experimentation and included extensive figures and diagrams of apparatus, including a number for the passage of electricity through gases.[20] His third book, Elements of the mathematical theory of electricity and magnetism (1895)[31] was a readable introduction to a wide variety of subjects, and achieved considerable popularity as a textbook.[20]

A series of four lectures, given by Thomson on a visit to Princeton University in 1896, were subsequently published as Discharge of electricity through gases (1897). Thomson also presented a series of six lectures at Yale University in 1904.[3]
Discovery of the electron
Several scientists, such as William Prout and Norman Lockyer, had suggested that atoms were built up from a more fundamental unit, but they envisioned this unit to be the size of the smallest atom, hydrogen. Thomson in 1897 was the first to suggest that one of the fundamental units of the atom was more than 1,000 times smaller than an atom, suggesting the subatomic particle now known as the electron. Thomson discovered this through his explorations on the properties of cathode rays. Thomson made his suggestion on 30 April 1897 following his discovery that cathode rays (at the time known as Lenard rays) could travel much further through air than expected for an atom-sized particle.[32] He estimated the mass of cathode rays by measuring the heat generated when the rays hit a thermal junction and comparing this with the magnetic deflection of the rays. His experiments suggested not only that cathode rays were over 1,000 times lighter than the hydrogen atom, but also that their mass was the same in whichever type of atom they came from. He concluded that the rays were composed of very light, negatively charged particles which were a universal building block of atoms. He called the particles "corpuscles", but later scientists preferred the name electron which had been suggested by George Johnstone Stoney in 1891, prior to Thomson's actual discovery.[33]
In April 1897, Thomson had only early indications that the cathode rays could be deflected electrically (previous investigators such as Heinrich Hertz had thought they could not be). A month after Thomson's announcement of the corpuscle, he found that he could reliably deflect the rays by an electric field if he evacuated the discharge tube to a very low pressure. By comparing the deflection of a beam of cathode rays by electric and magnetic fields he obtained more robust measurements of the mass-to-charge ratio that confirmed his previous estimates.[34] This became the classic means of measuring the charge-to-mass ratio of the electron. Later in 1899 he measured the charge of the electron to be of 6.8×10−10 esu.[35]
Thomson believed that the corpuscles emerged from the atoms of the trace gas inside his cathode-ray tubes. He thus concluded that atoms were divisible, and that the corpuscles were their building blocks. In 1904, Thomson suggested a model of the atom, hypothesizing that it was a sphere of positive matter within which electrostatic forces determined the positioning of the corpuscles.[4] To explain the overall neutral charge of the atom, he proposed that the corpuscles were distributed in a uniform sea of positive charge. In this "plum pudding model", the electrons were seen as embedded in the positive charge like raisins in a plum pudding (although in Thomson's model they were not stationary, but orbiting rapidly).[36][37]
Thomson made the discovery around the same time that Walter Kaufmann and Emil Wiechert discovered the correct mass to charge ratio of these cathode rays (electrons).[38]
The name "electron" was adopted for these particles by the scientific community, mainly due to the advocation by George Francis FitzGerald, Joseph Larmor, and Hendrik Lorentz.[39]: 273 The term was originally coined by George Johnstone Stoney in 1891 as a tentative name for the basic unit of electrical charge (which had then yet to be discovered).[40][41] For some years Thomson resisted using the word "electron" because he didn't like how some physicists talked of a "positive electron" that was supposed to be the elementary unit of positive charge just as the "negative electron" is the elementary unit of negative charge. Thomson preferred to stick with the word "corpuscle" which he strictly defined as negatively charged.[42] He relented by 1914, using the word "electron" in his book The Atomic Theory.[43] In 1920, Rutherford and his fellows agreed to call the nucleus of the hydrogen ion "proton", establishing a distinct name for the smallest known positively-charged particle of matter (that can exist independently anyway).[44]
Isotopes and mass spectrometry
In 1912, as part of his exploration into the composition of the streams of positively charged particles then known as canal rays, Thomson and his research assistant F. W. Aston channelled a stream of neon ions through a magnetic and an electric field and measured its deflection by placing a photographic plate in its path.[8] They observed two patches of light on the photographic plate (see image on right), which suggested two different parabolas of deflection, and concluded that neon is composed of atoms of two different atomic masses (neon-20 and neon-22), that is to say of two isotopes.[45][46] This was the first evidence for isotopes of a stable element; Frederick Soddy had previously proposed the existence of isotopes to explain the decay of certain radioactive elements.
Thomson's separation of neon isotopes by their mass was the first example of mass spectrometry, which was subsequently improved and developed into a general method by F. W. Aston and by A. J. Dempster.[4][5]
| External videos | |
|---|---|
![]() | |
Experiments with cathode rays
Earlier, physicists debated whether cathode rays were immaterial like light ("some process in the aether") or were "in fact wholly material, and ... mark the paths of particles of matter charged with negative electricity", quoting Thomson.[34] The aetherial hypothesis was vague,[34] but the particle hypothesis was definite enough for Thomson to test.
Magnetic deflection
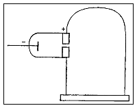
Thomson first investigated the magnetic deflection of cathode rays. Cathode rays were produced in the side tube on the left of the apparatus and passed through the anode into the main bell jar, where they were deflected by a magnet. Thomson detected their path by the fluorescence on a squared screen in the jar. He found that whatever the material of the anode and the gas in the jar, the deflection of the rays was the same, suggesting that the rays were of the same form whatever their origin.[47]
Electrical charge

While supporters of the aetherial theory accepted the possibility that negatively charged particles are produced in Crookes tubes, they believed that they are a mere by-product and that the cathode rays themselves are immaterial. Thomson set out to investigate whether or not he could actually separate the charge from the rays.
Thomson constructed a Crookes tube with an electrometer set to one side, out of the direct path of the cathode rays. Thomson could trace the path of the ray by observing the phosphorescent patch it created where it hit the surface of the tube. Thomson observed that the electrometer registered a charge only when he deflected the cathode ray to it with a magnet. He concluded that the negative charge and the rays were one and the same.[32]
Electrical deflection



In May–June 1897, Thomson investigated whether or not the rays could be deflected by an electric field.[8] Previous experimenters had failed to observe this, but Thomson believed their experiments were flawed because their tubes contained too much gas.
Thomson constructed a Crookes tube with a better vacuum. At the start of the tube was the cathode from which the rays projected. The rays were sharpened to a beam by two metal slits – the first of these slits doubled as the anode, the second was connected to the earth. The beam then passed between two parallel aluminium plates, which produced an electric field between them when they were connected to a battery. The end of the tube was a large sphere where the beam would impact on the glass, created a glowing patch. Thomson pasted a scale to the surface of this sphere to measure the deflection of the beam. Any electron beam would collide with some residual gas atoms within the Crookes tube, thereby ionizing them and producing electrons and ions in the tube (space charge); in previous experiments this space charge electrically screened the externally applied electric field. However, in Thomson's Crookes tube the density of residual atoms was so low that the space charge from the electrons and ions was insufficient to electrically screen the externally applied electric field, which permitted Thomson to successfully observe electrical deflection.
When the upper plate was connected to the negative pole of the battery and the lower plate to the positive pole, the glowing patch moved downwards, and when the polarity was reversed, the patch moved upwards.
Measurement of mass-to-charge ratio

In his classic experiment, Thomson measured the mass-to-charge ratio of the cathode rays by measuring how much they were deflected by a magnetic field and comparing this with the electric deflection. He used the same apparatus as in his previous experiment, but placed the discharge tube between the poles of a large electromagnet. He found that the mass-to-charge ratio was over a thousand times lower than that of a hydrogen ion (H+), suggesting either that the particles were very light and/or very highly charged.[34] Significantly, the rays from every cathode yielded the same mass-to-charge ratio. This is in contrast to anode rays (now known to arise from positive ions emitted by the anode), where the mass-to-charge ratio varies from anode-to-anode. Thomson himself remained critical of what his work established, in his Nobel Prize acceptance speech referring to "corpuscles" rather than "electrons".
Thomson's calculations can be summarised as follows (in his original notation, using F instead of E for the electric field and H instead of B for the magnetic field):
The electric deflection is given by , where Θ is the angular electric deflection, F is applied electric intensity, e is the charge of the cathode ray particles, l is the length of the electric plates, m is the mass of the cathode ray particles and v is the velocity of the cathode ray particles. The magnetic deflection is given by , where φ is the angular magnetic deflection and H is the applied magnetic field intensity.
The magnetic field was varied until the magnetic and electric deflections were the same, when . This can be simplified to give . The electric deflection was measured separately to give Θ and H, F and l were known, so m/e could be calculated.
Conclusions
As the cathode rays carry a charge of negative electricity, are deflected by an electrostatic force as if they were negatively electrified, and are acted on by a magnetic force in just the way in which this force would act on a negatively electrified body moving along the path of these rays, I can see no escape from the conclusion that they are charges of negative electricity carried by particles of matter.
— J. J. Thomson[34]
As to the source of these particles, Thomson believed they emerged from the molecules of gas in the vicinity of the cathode.
If, in the very intense electric field in the neighbourhood of the cathode, the molecules of the gas are dissociated and are split up, not into the ordinary chemical atoms, but into these primordial atoms, which we shall for brevity call corpuscles; and if these corpuscles are charged with electricity and projected from the cathode by the electric field, they would behave exactly like the cathode rays.
— J. J. Thomson[48]
Thomson imagined the atom as being made up of these corpuscles orbiting in a sea of positive charge; this was his plum pudding model. This model was later proved incorrect when his student Ernest Rutherford showed that the positive charge is concentrated in the nucleus of the atom.
Other work
In 1905, Thomson discovered the natural radioactivity of potassium.[49]
In 1906, Thomson demonstrated that hydrogen had only a single electron per atom. Previous theories allowed various numbers of electrons.[50][51]
From 1916 to 1918, Thomson chaired the "Committee appointed by the Prime Minister to enquire into the Position of Natural Science in the Educational System of Great Britain". The Report of the Committee, published in 1918, was known as the Thomson Report.[52]
Awards and honours
During his life



Thomson was elected a Fellow of the Royal Society (FRS)[27][53] and appointed to the Cavendish Professorship of Experimental Physics at the Cavendish Laboratory, University of Cambridge in 1884.[4] Thomson won numerous awards and honours during his career including:
- Smith's Prize (1880)
- Adams Prize (1882)
- Royal Medal (1894)
- Hughes Medal (1902)
- Hodgkins Medal (1902)
- Nobel Prize in Physics (1906)
- Elliott Cresson Medal (1910)
- Copley Medal (1914)
- Franklin Medal (1922)
- Dalton Medal (1931)[54]
Thomson was elected a fellow of the Royal Society[27] on 12 June 1884 and served as President of the Royal Society from 1915 to 1920. He was elected to membership of the Manchester Literary and Philosophical Society on 30 April 1895.[55]
Thomson was elected an International Honorary Member of the American Academy of Arts and Sciences in 1902, and International Member of the American Philosophical Society in 1903, and the United States National Academy of Sciences in 1903.[56][57][58]
In November 1927, Thomson opened the Thomson building, named in his honour, in the Leys School, Cambridge.[59]
Posthumous
In 1991, the thomson (symbol: Th) was proposed as a unit to measure mass-to-charge ratio in mass spectrometry in his honour.[60]
J J Thomson Avenue, on the University of Cambridge's West Cambridge site, is named after Thomson.[61]
The Thomson Medal Award, sponsored by the International Mass Spectrometry Foundation, is named after Thomson.[62]
The Institute of Physics Joseph Thomson Medal and Prize is named after Thomson.[63]
Thomson Crescent in Deep River, Ontario, connects with Rutherford Ave.
See also
References
- ^ a b c d e f g "Joseph Thomson - The Mathematics Genealogy Project". genealogy.math.ndsu.nodak.edu. Retrieved 31 May 2025.
- ^ a b c d e f g h "Joseph John Thomson - Physics Tree". academictree.org. Retrieved 17 July 2025.
- ^ a b c d "J.J. Thomson – Biographical". The Nobel Prize in Physics 1906. The Nobel Foundation. Retrieved 11 February 2015.
- ^ a b c d e f g "Joseph John "J. J." Thomson". Science History Institute. June 2016. Retrieved 20 March 2018.
- ^ a b Jones, Mark. "Gas Chromatography-Mass Spectrometry". American Chemical Society. Retrieved 19 November 2019.
- ^ "Nobel Prize in Physics 1906". nobelprize.org. Retrieved 20 February 2025.
- ^ Sengupta, Sudipto (6 April 2015). "Extraordinary Professor: JJ Thomson and his Nobel Prize Factory". Probashi. Durga Puja & Cultural Association (India). Retrieved 7 August 2022.
His Nobel Laureate students include Rutherford, Aston, Wilson, Bragg, Barkla, Richardson, and Appleton
- ^ a b c d Davis & Falconer, J.J. Thomson and the Discovery of the Electron
- ^ Peter J. Bowler, Reconciling Science and Religion: The Debate in Early-Twentieth-Century Britain (2014). University of Chicago Press. p. 35. ISBN 9780226068596. "Both Lord Rayleigh and J. J. Thomson were Anglicans."
- ^ Seeger, Raymond. 1986. "J. J. Thomson, Anglican", in "Perspectives on Science and Christian Faith", 38 (June 1986): 131–132. The Journal of the American Scientific Affiliation. "As a Professor, J. J. Thomson did attend the Sunday evening college chapel service, and as Master, the morning service. He was a regular communicant in the Anglican Church. In addition, he showed an active interest in the Trinity Mission at Camberwell. With respect to his private devotional life, J. J. Thomson would invariably practice kneeling for daily prayer, and read his Bible before retiring each night. He truly was a practicing Christian!" (Raymond Seeger 1986, 132).
- ^ Richardson, Owen. 1970. "Joseph J. Thomson", in Dictionary of National Biography, 1931–1940. L. G. Wickham Legg, editor. Oxford University Press.
- ^ Robert John Strutt (1941). "Joseph John Thomson, 1856–1940". Biographical Memoirs of Fellows of the Royal Society. 3 (10): 587–609. doi:10.1098/rsbm.1941.0024.
- ^ Joseph Thomson (1876). "XX. Experiments on contact electricity between non-conductors". Proceedings of the Royal Society. 25 (171–178): 169–171. doi:10.1098/rspl.1876.0039.
- ^ Grayson, Mike (22 May 2013). "The Early Life of J. J. Thomson: Computational Chemistry and Gas Discharge Experiments". Profiles in Chemistry. Chemical Heritage Foundation. Retrieved 11 February 2015.
- ^ a b "Thomson, Joseph John (THN876JJ)". A Cambridge Alumni Database. University of Cambridge.
- ^ Univ, Manchester (1882). The Victoria University Calendar for the Session 1881–2. p. 184. Retrieved 11 February 2015.
- ^ Navarro, Jaume (2012). A History of the Electron: J. J. and G. P. Thomson. Cambridge University Press. ISBN 978-1-139-57671-0.
- ^ "Joan Paget Thomson (later Charnock), daughter". The National Archives. Cambridge University: Trinity College Library. Retrieved 22 March 2020.
- ^ NA, NA (2016). Writers Directory. Springer. ISBN 978-1-349-03650-9.
- ^ a b c d e f Kim, Dong-Won (2002). Leadership and creativity : a history of the Cavendish Laboratory, 1871–1919. Dordrecht: Kluwer Acad. Publ. ISBN 978-1402004759. Retrieved 11 February 2015.
- ^ 'The Abbey Scientists' Hall, A.R. p. 63: London; Roger & Robert Nicholson; 1966
- ^ Westminster Abbey. "Sir Joseph John Thomson".
- ^ "Charles Glover Barkla – Biographical". The Nobel Prize. Nobel Lectures, Physics 1901–1921, Elsevier Publishing Company. 1967. Retrieved 11 October 2022.
he worked under J. J. Thomson at the Cavendish Laboratory in Cambridge.
- ^ "Niels Bohr – Biographical". The Nobel Prize. Nobel Lectures, Physics 1922–1941, Elsevier Publishing Company, Amsterdam. 1965. Retrieved 18 October 2022.
he made a stay at Cambridge, where he profited by following the experimental work going on in the Cavendish Laboratory under Sir J.J. Thomson's guidance
- ^ "Max Born- Biographical". The Nobel Prize. Nobel Lectures, Physics 1942–1962, Elsevier Publishing Company. 1964. Retrieved 11 October 2022.
Born next went to Cambridge for a short time, to study under Larmor and J. J. Thomson.
- ^ "Sir Owen Willans Richardson, British physicist". Encyclopædia Britannica. Retrieved 18 October 2022.
Richardson, a graduate (1900) of Trinity College, Cambridge, and a student of J. J. Thomson at the Cavendish Laboratory
- ^ a b c Rayleigh (1941). "Joseph John Thomson. 1856–1940". Obituary Notices of Fellows of the Royal Society. 3 (10): 586–609. doi:10.1098/rsbm.1941.0024.
- ^ "Francis W. Aston – Biographical". The Nobel Prize. Nobel Lectures, Physics 1922–1941, Elsevier Publishing Company. 1966. Retrieved 13 October 2022.
At the end of 1909 he accepted the invitation of Sir J. J. Thomson to work as his assistant at the Cavendish Laboratory
- ^ "Ernest Rutherford – Biography". NobelPrize.org. Retrieved 6 August 2013.
as a research student at the Cavendish Laboratory under J.J. Thomson.
- ^ "George Paget Thomson Biographical". The Nobel Prize. Retrieved 8 June 2022.
he carried out experiments on the behaviour of electrons ... which showed that electrons behave as waves ...
- ^ Mackenzie, A. Stanley (1896). "Review: Elements of the Mathematical Theory of Electricity and Magnetism by J. J. Thomson" (PDF). Bull. Amer. Math. Soc. 2 (10): 329–333. doi:10.1090/s0002-9904-1896-00357-8.
- ^ a b Thomson, J.J. (1897). "Cathode Rays". The Electrician. 39: 104.
- ^ Falconer, Isobel (2001). "Corpuscles to electrons" (PDF). In Buchwald, J. Z.; Warwick, A. (eds.). Histories of the Electron. MIT Press. pp. 77–100. ISBN 978-0262024945.
- ^ a b c d e Thomson, J. J. (7 August 1897). "Cathode Rays" (PDF). Philosophical Magazine. 5. 44 (269): 293. doi:10.1080/14786449708621070. Retrieved 4 August 2014.
- ^ Thomson, J.J. (1899). "On the masses of the ions in gases at low pressures". The London, Edinburgh, and Dublin Philosophical Magazine and Journal of Science. 48 (295): 547–567. doi:10.1080/14786449908621447. Retrieved 28 December 2024.
- ^ Mellor, Joseph William (1917), Modern Inorganic Chemistry, Longmans, Green and Company, p. 868,
According to J. J. Thomson's hypothesis, atoms are built of systems of rotating rings of electrons.
- ^ Dahl (1997), p. 324: "Thomson's model, then, consisted of a uniformly charged sphere of positive electricity (the pudding), with discrete corpuscles (the plums) rotating about the center in circular orbits, whose total charge was equal and opposite to the positive charge."
- ^ Chown, Marcus (29 March 1997). "Forum: Just who did discover the electron?". New Scientist (2075). Retrieved 17 October 2020.
Marcus Chown says the truth is not quite as the history books suggest.
- ^ O'Hara, J. G. (March 1975). "George Johnstone Stoney, F.R.S., and the Concept of the Electron". Notes and Records of the Royal Society of London. 29 (2). Royal Society: 265–276. doi:10.1098/rsnr.1975.0018. JSTOR 531468. S2CID 145353314.
- ^ George Johnstone Stoney (1891). "On the Cause of Double Lines and of Equidistant Satellites in the Spectra of Gases". The Scientific Transactions of the Royal Dublin Society. 4: 583–608.
- ^ George Johnstone Stoney (1894). "Of the "Electron", or Atom of Electricity". Philosophical Magazine. Series 5. 38 (233): 418–420.
- ^ J. J. Thomson (1907). "The Modern Theory of Electrical Conductivity of Metals". Journal of the Institution of Electrical Engineers. 38 (183): 455–468. doi:10.1049/jiee-1.1907.0026.: "Perhaps I can best show my appreciation by trying to answer the questions which Professor Silvanus Thompson addressed to me. I think his first question was a question rather of notation, as to the difference between the electron and the corpuscle. I prefer the corpuscle for two reasons: first of all, it is my own child, and I have a kind of parental affection for it; and, secondly, I think it has one merit which the term electron has not. We talk about positive and negative electrons, and I think when you use the same term for the two the suggestion is that there is an equality, so to speak, in the properties. From my point of view the difference between the negative and the positive is essential, and much greater than I think would be suggested by the term positive electron and negative electron. Therefore I prefer to use a special term for the negative units and call it a corpuscle. A corpuscle is just a negative electron."
- ^ J. J. Thomson (1914). The Atomic Theory. Oxford Clarendon Press.
- ^ Orme Masson (1921). "The Constitution of Atoms". The London, Edinburgh, and Dublin Philosophical Magazine and Journal of Science. 41 (242): 281–285. doi:10.1080/14786442108636219.
Footnote by Ernest Rutherford: 'At the time of writing this paper in Australia, Professor Orme Masson was not aware that the name "proton" had already been suggested as a suitable name for the unit of mass nearly 1, in terms of oxygen 16, that appears to enter into the nuclear structure of atoms. The question of a suitable name for this unit was discussed at an informal meeting of a number of members of Section A of the British Association [for the Advancement of Science] at Cardiff this year. The name "baron" suggested by Professor Masson was mentioned, but was considered unsuitable on account of the existing variety of meanings. Finally the name " proton" met with general approval, particularly as it suggests the original term "protyle " given by Prout in his well-known hypothesis that all atoms are built up of hydrogen. The need of a special name for the nuclear unit of mass 1 was drawn attention to by Sir Oliver Lodge at the Sectional meeting, and the writer then suggested the name "proton."' - ^ J.J. Thomson (1912) "Further experiments on positive rays," Philosophical Magazine, series 6, 24 (140): 209–253.
- ^ J. J. Thomson (1913) "Rays of positive electricity", Proceedings of the Royal Society A, 89: 1–20.
- ^ Thomson, J. J. (8 February 1897). "On the cathode rays". Proceedings of the Cambridge Philosophical Society. 9: 243.
- ^ Thomson, J. J. (1897). "Cathode rays". Philosophical Magazine. 44: 293.
- ^ Thomson, J. J. (1905). "On the emission of negative corpuscles by the alkali metals". Philosophical Magazine. Series 6. 10 (59): 584–590. doi:10.1080/14786440509463405.
- ^ Hellemans, Alexander; Bunch, Bryan (1988). The Timetables of Science. Simon & Schuster. p. 411. ISBN 0671621300.
- ^ Thomson, J. J. (June 1906). "On the Number of Corpuscles in an Atom". Philosophical Magazine. 11 (66): 769–781. doi:10.1080/14786440609463496. Retrieved 4 October 2008.
- ^ "Thomson Report (1918)". Retrieved 4 August 2025.
- ^ Thomson, Sir George Paget. "Sir J.J. Thomson, British Physicist". Encyclopædia Britannica. Retrieved 11 February 2015.
- ^ Memoirs And Proceedings Of The Manchester Literary And Philosophical Society Volume 152 2013-14
- ^ Complete List of the Members & Officers of the Manchester Literary & Philosophical Society.From its institution on February 28th 1781 to April, 1896.
- ^ "Joseph John Thomson". American Academy of Arts & Sciences. 10 February 2023. Retrieved 2 February 2024.
- ^ "APS Member History". search.amphilsoc.org. Retrieved 2 February 2024.
- ^ "Joseph J. Thomson". National Academy of Sciences. Retrieved 2 February 2024.
- ^ "Opening of the New Science Building: Thomson". 1 December 2005. Archived from the original on 11 January 2015. Retrieved 10 January 2015.
- ^ Cooks, R. G.; A. L. Rockwood (1991). "The 'Thomson'. A suggested unit for mass spectroscopists". Rapid Communications in Mass Spectrometry. 5 (2): 93.
- ^ "Cambridge Physicist is streets ahead". 18 July 2002. Archived from the original on 2 February 2017. Retrieved 31 July 2014.
- ^ "Awards Page – Thomson Medal Award". International Mass Spectrometry Foundation. Archived from the original on 13 May 2019. Retrieved 7 March 2023.
The Thomson Medal Award is named after Sir J. J. Thomson, who was responsible for the first mass spectrograph
- ^ "Silver Subject Medals and Prizes". Institute of Physics. Retrieved 7 March 2023.
Bibliography


- 1883. A Treatise on the Motion of Vortex Rings: An essay to which the Adams Prize was adjudged in 1882, in the University of Cambridge. London: Macmillan and Co., pp. 146. Recent reprint: ISBN 0-543-95696-2.
- 1888. Applications of Dynamics to Physics and Chemistry. London: Macmillan and Co., pp. 326. Recent reprint: ISBN 1-4021-8397-6.
- 1893. Notes on recent researches in electricity and magnetism: intended as a sequel to Professor Clerk-Maxwell's 'Treatise on Electricity and Magnetism'. Oxford University Press, pp. xvi & 578. 1991, Cornell University Monograph: ISBN 1-4297-4053-1.
- Thomson, Joseph John (1893). Notes on recent researches in electricity and magnetism. Oxford: Clarendon Press.
- Thomson, Joseph John (1900). Discharge of electricity through gases (in German). Leipzig: Johann Ambrosius Barth.
- Thomson, Joseph John (1904). Electricity and matter (in English). Oxford : Clarendon Press.
- Thomson, Joseph John (1905). Electricity and matter (in Italian). Milano: Hoepli.
- Thomson, Joseph John (1908). Corpuscular theory of matter (in German). Braunschweig: Vieweg und Sohn.
- 1921 (1895). Elements of the Mathematical Theory of Electricity And Magnetism. London: Macmillan and Co. Scan of 1895 edition.
- A Text book of Physics in Five Volumes, co-authored with J.H. Poynting: (1) Properties of Matter, (2) Sound, (3) Heat, (4) Light, and (5) Electricity and Magnetism. Dated 1901 and later, and with revised later editions.
- Dahl, Per F. (1997). Flash of the Cathode Rays: A History of J J Thomson's Electron. Bristol and Philadelphia: Institute of Physics Publishing. ISBN 0-7503-0453-7.
- J.J. Thomson (1897) "Cathode Rays", The Electrician 39, 104, also published in Proceedings of the Royal Institution 30 April 1897, 1–14 – first announcement of the "corpuscle" (before the classic mass and charge experiment)
- J.J. Thomson (1897), Cathode rays, Philosophical Magazine, 44, 293 – the classic measurement of the electron mass and charge
- J.J. Thomson (1904), "On the Structure of the Atom: an Investigation of the Stability and Periods of Oscillation of a number of Corpuscles arranged at equal intervals around the Circumference of a Circle; with Application of the Results to the Theory of Atomic Structure," Philosophical Magazine Series 6, Volume 7, Number 39, pp. 237–265. This paper presents the classical "plum pudding model" from which the Thomson Problem is posed.
- J. J. Thomson (1906). "On the Number of Corpuscles in an Atom" (PDF). Philosophical Magazine. 6. 11 (66): 769–781. doi:10.1080/14786440609463496.
- Joseph John Thomson (1908). On the Light Thrown by Recent Investigations on Electricity on the Relation Between Matter and Ether: The Adamson Lecture Delivered at the University on November 4, 1907. University Press.

Corpuscular theory of matter, 1908 - J.J. Thomson (1912), "Further experiments on positive rays" Philosophical Magazine, 24, 209–253 – first announcement of the two neon parabolae
- J.J. Thomson (1913), Rays of positive electricity, Proceedings of the Royal Society, A 89, 1–20 – discovery of neon isotopes
- J.J. Thomson (1923), The Electron in Chemistry: Being Five Lectures Delivered at the Franklin Institute, Philadelphia.
- Thomson, Sir J. J. (1936), Recollections and Reflections, London: G. Bell & Sons, Ltd. Republished as digital edition, Cambridge: University Press, 2011 (Cambridge Library Collection series).
- Thomson, George Paget. (1964) J.J. Thomson: Discoverer of the Electron. Great Britain: Thomas Nelson & Sons, Ltd.
- Davis, Eward Arthur & Falconer, Isobel (1997), J.J. Thomson and the Discovery of the Electron. ISBN 978-0-7484-0696-8
- Falconer, Isobel (1988) "J.J. Thomson's Work on Positive Rays, 1906–1914" Historical Studies in the Physical and Biological Sciences 18(2) 265–310
- Falconer, Isobel (2001) "Corpuscles to Electrons" in J Buchwald and A Warwick (eds) Histories of the Electron, Cambridge, Mass: MIT Press, pp. 77–100.
- Navarro, Jaume (2005). "J. J. Thomson on the Nature of Matter: Corpuscles and the Continuum". Centaurus. 47 (4): 259–282. Bibcode:2005Cent...47..259N. doi:10.1111/j.1600-0498.2005.00028.x.
- Downard, Kevin M. (2009). "J. J. Thomson goes to America". Journal of the American Society for Mass Spectrometry. 20 (11): 1964–1973. Bibcode:2009JASMS..20.1964D. doi:10.1016/j.jasms.2009.07.008. PMID 19734055. S2CID 34371775.
External links
- The Discovery of the Electron Archived 16 March 2008 at the Wayback Machine
- J. J. Thomson on Nobelprize.org with the Nobel Lecture, 11 December 1906 Carriers of Negative Electricity
- Annotated bibliography for Joseph J. Thomson from the Alsos Digital Library for Nuclear Issues
- Essay on Thomson life and religious views
- The Cathode Ray Tube site
- Thomson's discovery of the isotopes of Neon
- Photos of some of Thomson's remaining apparatus at the Cavendish Laboratory Museum
- A short film of Thomson lecturing on electrical engineering and the discovery of the electron (1934)
- Works by J. J. Thomson at Project Gutenberg
- Works by or about J. J. Thomson at the Internet Archive
- A history of the electron: JJ and GP Thomson published by the University of the Basque Country (2013)




_shield.svg.png)